Курсы по программированию

Формула программиста

основатель — Волосатов Евгений Витольдович
Поздравляю с 1 сентября! Система начисления Байтов работает.

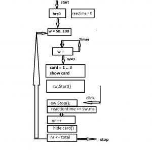
Нано-игры / Скорость реакции. Блок-схема

  • На этом уроке мы составим блок-схему
    для игры по вычислению скорости реакции.
    Нам потребуются три картинки, листик и ручка.
  • Дата отправки отчёта: 25 декабря 2021 г.
  • Задание выполнено: за 20 час. 17 мин.
  • Чему научился: Все гуд ))
  • Оценка видео-уроку:
Отчёт от 31513 за Нано-игры / Скорость реакции. Блок-схема


Отчёт от 31513 за Нано-игры / Скорость реакции. Блок-схема




Оцени работу

 
Сохранить страницу:

  • Отчёт оценивали:
    30514Tom+1   791Валерий Жданов+1   9014Николай Денисов+1   30187Tim+1   1710Степан+1  

Начинаем практику по языку C#





Если вы пришли без приглашения -
введите тысяча двадцать четыре (цифрами).
Чтобы стать хорошим программистом — нужно писать программы. На нашем сайте очень много практических упражнений.

После заполнения формы ты будешь подписан на рассылку «C# Вебинары и Видеоуроки», у тебя появится доступ к видеоурокам и консольным задачам.

Несколько раз в неделю тебе будут приходить письма — приглашения на вебинары, информация об акциях и скидках, полезная информация по C#.

Ты в любой момент сможешь отписаться от рассылки.


Научился: Узнал что есть программка для рисования блок -схем, но пользовался Paint-ом. Хорошо бы к этой программке привязать через порты 4-8 кнопок-датчиков, для проверки внешней реакции .
Трудности: Сложностей не возникло.



Трудности: ничего, школьные задания. Но для некоторых это полезно, у кого нет образования по программированию.
Спасибо.